
Jacks
- Overview
- Specifications
- Downloads
- Diagrams
STANDARD FEATURES, OPTIONAL EQUIPMENT AND CUSTOM SOLUTIONS
Whether your project requires a hole to be drilled or not Canton Elevator has a hydraulic jack solution to suit your needs. All our designs are simple but effective and user-friendly. We have the ability to manufacture residential assemblies to freight car applications. If you require a custom application don’t hesitate to ask we might surprise you and be able to accomplish the task!
Custom Solutions
- Cylinder Only Manufacturing
- Re-use Existing Cylinder Head with new Cylinder Material
- Two-Stage Telescopic
- Double Wall Cylinders
- Double Bearing Cylinders
Piston Standard Features
- Material: DOM 1026 Tube (max length 22′)
- Finish: 16 RA with a factory applied corrosive preventive coating
- Diameter Variation: +/- .010”
- Joint Type: Internal Threaded sanded and polished with match marks
- Upper End: Inground & Roped include a plate with welded stud. Dual Holeless include a drilled and tapped plate.
- Lower End: Welded Bulk Plate and Stop Ring (Roped Stop ring is 360° all Inground and Dual Holeless 180°)
Cylinder Standard Features
- Material: A53 Grade B Pipe (Max length 40′)
- Finish: Thoroughly cleaned, inspected and tested, then painted
- Joint Type: External Acme Threaded
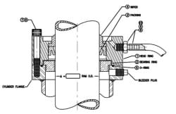
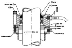
- Upper End: Steel Flange Welded to receive Bolt-On Head and One-Piece Packing and Wiper Rings. Bleeder screws included for purging air.
- Bottom: Inground and Partial Inground units equipped with welded bulk plate and seamless dish cap. Holeless assemblies welded directly to mounting plate. Roped units fitted with a welded steel plate with oil inlet pipe nipple.
- Pit Supports: Inground units equipped with One-Piece Buffer/Pit Support Plate with Interval Leveling/Aligning Bolts. Dual Holeless and Cantilever Holeless fitted with Base Plate and Stabilizer Bracket
Optional Equipment
- Cylinder Protective Tape Coating
- Schedule 40 or 80 PVC
- Sealed/Monitored PVC
- Custom Pit Supports
- Life Jacket
Single Stage Jack Assemblies
| Piston OD |
Cylinder OD |
Std PVC | Monitored PVC | |||
|
Single PC |
Multi PC Cyl |
S40 PVC |
S80 PVC |
|||
| 3" | 5" |
8" |
8" |
N/A |
N/A |
|
| 3 1/2" | 5" | 8" | ||||
| 4" | 6" |
8" | 10" |
10" |
10" |
|
| 4 1/2" | 6" | 8" | ||||
| 5" | 8" | 8" | ||||
| 5 1/2" | 8" | 10" | 12" | 12" | 12" | |
| 6" | 8" | 10" | ||||
| 6 1/2" | 10" | 14" | 14" | 14" | 16" | |
| 7" | 10" | 14" | ||||
| 7 1/2" | 10" | 14" | ||||
| 8 " | 10" | 14" | ||||
| 8 1/2" | 10" | 14" | ||||
| 9" | 12" | 16" | 16" | 16" | 18" | |
| 9 1/2" | ||||||
| 10" | 14" | 18" | 18" | 18" | 20" | |
| 10 1/2" | ||||||
Brochures
Press Releases
News Articles
Case Studies
Survey Form - PDF
Survey Form - Word
Quote Form - PDF
Quote Form - Word
Product Catalogs
Product Data Sheets
Training
Manuals
Product Page
Quote Form
Survey Form
Notice
Jack Head Diagrams

Single Stage Assembly Jack Head - 500 PSI

Single Stage Cantilever Assembly Head - 700 PSI

Single Stage Dual Rope Assembly Head - 900 PSI

